Page 2 of 2
Posted: 01 Mar 2016, 12:58
by tigpha
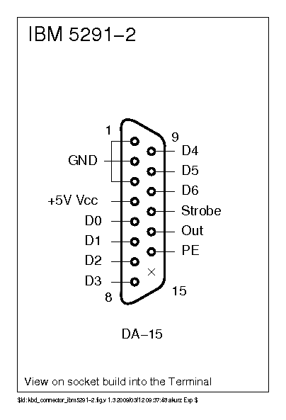
The connector diagram for the DB-25 has pin nomenclature that resembles the one for the IBM Bigfoot. Maybe Soarer's Controller can be used for the Honeywell Microswitch, possibly by modifying only the configuration (add one more address line), without need for hacking the internal circuitry?

- kbd_connector_ibm5291-2.png (8.67 KiB) Viewed 1430 times
Posted: 01 Mar 2016, 14:37
by Halvar
If the Honeywell board is anything like the ones that we looked at here:
workshop-f7/converting-my-wang-t12379.html
then the D1 to D7 and strobe pins are output pins on the Honeywell driven by the keyboard when a key is pressed, while on the IBM they're input pins that the computer drives in cycles to query the status of individual keys (according to Soarer:
https://geekhack.org/index.php?topic=48950.0 )
That's why the IBM has a dedicated "Out" pin, the Honeywell doesn't have that.